Fenster aus REHAU SYNEGO

Wohlfühlen beginnt mit Wärme




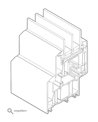
Technische Details:

Bautiefe: 80 mm
Kammer­anzahl: 7 Kammern im Rahmen, 6 Kammern in Flügel
Anschlag­dichtung Mittel­dichtung
Wärme­dämmung Profil: Uf = 1,0 W/m²K Uf = 0,94 W/m²K
Wärme­dämmung Fenster: Glas (Ug - Wert) Gesamtdämmwert Fenster (Uw - Wert)
Ug = 0,8 W/m²K Uw = 0,94 W/m²K Uw = 0,92 W/m²K
Ug = 0,7 W/m²K Uw = 0,87 W/m²K Uw = 0,86 W/m²K
Ug = 0,6 W/m²K Uw = 0,81 W/m²K Uw = 0,79 W/m²K
Ug = 0,5 W/m²K Uw = 0,74 W/m²K Uw = 0,72 W/m²K
Ug = 0,4 W/m²K Uw = 0,67 W/m²K Uw = 0,66 W/m²K
Ober­fläche: REHAU HDF (High Definition Finishing-Oberfläche):
extrem hochwertig, hochgradig glatt und daher besonders pflegeleicht
Einbruch­hemmung: bis RC 3
Schall­schutz: bis Rw,P = 46 dB

Bitte benutzen Sie die oben stehenden Links zur Erklärung der Fachbegriffe in unserer Rubrik "Wissen von A-Z". Weitere Fachbegriffe und technische Details erklären wir Ihnen gerne persönlich.
Wir freuen uns von Ihnen zu hören.


REHAU SYNEGO Profil

Weitere Informationen zu REHAU SYNEGO:

nach oben